什么是cdn,它的加速原理和优化?

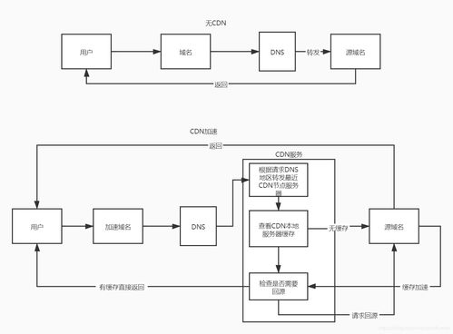
简单的说,CDN的工作原理就是将您源站的资源缓存到位于全球各地的CDN节点上,用户请求资源时,就近返回节点上缓存的资源,而不需要每个用户的请求都回您的源站获取,避免网络拥塞、缓解源站压力,保证用户访问资源的速度和体验 追问 谁的CDN加速便宜又好用的? 追答 蔚可云的CDN加速不错价格又便宜。
解决源站压力
多层缓存架构,缓存命中率高达95%以上,可大幅降低源站回源压力。
好wecloud .cn/product/webcdn.html
CDN是如何做到视频加速的,主要原理是什么?

CDN做到加速,原理其实很简单,就是将服务器源站的资源缓存到位于全国各地的CDN节点上,用户请求访问时,就近返回节点上缓存的资源,避免网络拥塞、分担源站压力,保证用户访问资源的速度和体验。
CDN的工作原理及作用

(一)
CDN是英文Content Delivery Network的简称,即内容分发网络的含义。CDN许可证指的是颁发给从事内容分发网络业务企业的经营许可,是企业开展增值电信业务B12的从业牌照,业务编号B12.是内容分发网络业务许可证的简称,俗称CDN经营许可证,CDN资质。
(二)
CDN内容分发网络业务是指利用分布在不同区域的节点服务器群组成流量分配管理网络平台,为用户提供内容的分散存储和高速缓存,并根据网络动态流量和负载状况,将内容分发到快速、稳定的缓存服务器上,提高用户内容的访问响应速度和服务的可用性服务。简称CDN许可证、CDN资质、CDN牌照,属于第一类增值电信业务中的内容分发网络业务。
一般为视频网站、门户网站、个人网站、购物网站、企事业单位网站或数据提供网络加速服务的,均需要办理CDN许可证。
(三)
CDN,即内容分发网络,通俗讲其主要功能就是让在各个不同地点的网络用户,都能够快速访问到网站提供的内容,不会经常出现等待或是卡顿的状况。
CDN,简单来讲就是一项非常有效的缩短时延的技术,CDN这个技术其实说起来并不复杂,最初的核心理念,就是将内容缓存在终端用户附近。内容源不是远么?那么,我们就在靠近用户的地方,建一个缓存服务器,把远端的内容,复制一份,放在这里,不就OK了?
因为这项技术是把内容进行了分发,所以,它的名字就叫做CDN——Content Delivery Network,内容分发网络。
CDN加速的原理是什么,可以防御流量攻击吗

CDN加速原理是就近原则 也就是用户访问会自动访问CDN离用户最近的节点上。
理论上是可以提升用户访问速度的。目前国内各大CDN很少有支持防护攻击的,因为节点如果装硬防的话 成本是很高的,一个CDN服务商起码几百个节点,都是高防的话成本贵得飞起。像腾讯云 阿里云这些都不支持,目前大型服务商已知的就百度云加速支持,不过也只是最高防护30G而以。真正遇到上百G攻击的话 还是买个高防服务器吧。
什么是cdn,它的加速原理和优化

CDN的全称是Content Delivery Network,即内容分发网络。其基本思路是尽可能避开互联网上有可能影响数据传输速度和稳定性的瓶颈和环节,使内容传输的更快、更稳定。
简单的来说,就是把原服务器上数据复制到其他服务器上,用户访问时,那台服务器近访问到的就是那台服务器上的数据。CDN加速优点是成本低,速度快。适合访问量比较大的网站
原创文章,作者:聚禄鼎,如若转载,请注明出处:https://www.xxso.cn/33770.html